物理治疗学(理疗学)是研究应用物理因子提高健康水平、预防和治疗疾病、促进病后机体康复及延缓衰老等的专门学科。所应用的物理因子包括人工、自然两类:人工物理因子如,光、电、磁、声、温热、寒冷等;自然物理因子如矿泉、气候、日光、空气、海水等。
通常所说的理疗指的是利用人工物理因子疗法如电疗法、光疗法、磁疗法、超声疗法、热疗法、冷疗法、水疗法、生物反馈疗法等;而利用自然物理因子疗法如:气候疗法、日光疗法、海水疗法、矿泉疗法、泥疗法、空气浴疗法等属疗养学范畴。
一、理疗学在现代医学中的应用
(一)预防方面的作用
理疗、体疗、疗养具有锻炼作用,合理而适量的应用可促进各种生理活动,增强机体的调节功能,提高对外界各种刺激因素的适应能力。其预防作用表现在:
1.预防因气候急剧变化或新的气候条件带来的不良反应。
2.预防某些职业病,如矿井、坑道、地铁及潜艇等作业人员的紫外线缺乏症。
3.预防和减轻手术并发症和后遗症,如污染手术或术后伤口有炎症反应,应及时采用紫外线、超短波疗法可预防感染;预防术后粘连及关节功能障碍可用音频电、太阳灯、蜡疗、超声波疗法等。
(二)综合治疗方面的作用
理疗涉及所有临床科室,治疗病种在260种以上,与药物、手术等综合治疗可缩短病程,且具有下述优越性:1.一种物理因子有多种治疗作用:如紫外线有消炎、止痛、促进维生素D形成及加强免疫功能等作用。2.副作用少:用于一般疾病的物理治疗剂量,对人体一般无明显副作用。3.作用可相对集中病变部位:与药物联合应用时可改善局部药物浓度及促进局部炎症吸收有较好的疗效。4.与药物、放疗、化疗、及手术等有协同作用,如直流电药物离子导入治疗伤口感染比单一用直流电疗法或单一用药物治疗效果好;射频疗法与化疗、放疗联合应用可减轻化疗、放疗剂量,提高治疗效果。
二、物理因子作用机制
生命活动的基本原则之一是机体内环境和机体外环境不断进行能和住处交换,见图3-1-1。
生命起源和发展,物理因子起重要的作用,如阳光、放射本底,地球磁场(0.3~0.5GS)、电场、冷热等都是生命起源的物理基础,故称为生态因子。人工物理因子的性质属于生态学因子,而生物体在其生理和病理过程中以及随外界环境变化而产生的应答反应中均伴有一定理化现象,如动作电位,磁场强度、热辐射强度、电子传递等,人体自发的及其在外界影响下发生的一系列生物物理现象为理疗作用机理提供依据。各种物理因子作为不同形式的物理能和信息作用于机体时,在其内部进行传递和交换。能是信息的物质基础,信息是能的表现形式。当物理因子的作用强度大于生理阈值,而且其参数与细胞一分子内生物物理变化的参数及细胞内能量合成过程参数相对应时,该物理因子对机体便可起到信息的作用。物理因子在机体能和信息转化过程见图3-1-2。

图3-1-1 生物体与环境能和信息交换

图3-1-2 物理因子对机体作用机制
三、物理因子的特异性作用
物理因子的特异性作用效应只有在使用小剂量的条件下方可最明显呈现,使用大剂量时,由于分子的布朗运动(热运动)可掩盖其特异性作用效应。
物理因子的特异性作用效应是基于不同的物理因子对不同的细胞、组织和器官有相对的选择作用,这是因为各种物理能-信息的性质不同;各种组织细胞对不同的物理因子的感受性有差异。例如紫外线优先作用于外胚层组织,如表皮、皮肤的神经末梢感受器、超短波优先作用于结缔组织、巨噬细胞系统。
应用各种电流或电磁场预防和治疗疾病称电疗法。电疗法包括直流电及直流电离子导入疗法、低频电疗法,中频电疗法及高频电疗法等。
电疗法特点:
1.各种电疗因子因其性质不同,其作用机理也各有特性。例如:直流电对组织细胞内的电离、极化,驻极状态等的影响较显着,而高频电疗时,组织细胞基于共振原理吸收物理能量。
2.如生理和治疗作用是以理论学变化为基础的神经-体液调节途径实现的。电疗具有镇痛、消肿、消炎、脱敏、缓解肌肉痉挛、加强组织张力、促进恢复正常的神经传导和调节功能等治疗作用。
3.异性作用:如直流电优先作用于末梢神经感受器和周围神经纤维;一不定频率低频电优先作用于肌肉-神经结构;超短波优先作用于结缔组织、单核巨细胞系统。电疗的特异性作用在使用小剂量时最明显。
4.电疗的效果与其作用的组织器官有关,如微波作用于肾上腺区可增加皮质固醇激素的产生。作用于甲状腺区可降低糖皮质激素的活性,加强免疫功能。
一、直流电及电流电离子导入
直流电疗法是使用低电压的平稳直流电通过人体的一定部位以治疗疾病的方法。使用直流电将药物离子通过皮肤、粘膜或伤口导入体内进行治疗的方法称直流电药物离子导入疗法。
(一)生理作用:直流电作用机体时,处于直流电场中的组织内可引起正负离子的定向移动及电极表面发生化学反应的电解,带电胶粒的电泳和水分子的电渗,因而引起组织兴奋性,细胞膜结构与通透性,酸碱度和组织含水量的变化(见表3-1-1)。上述变化对神经系统的功能有明显影响,如调整中枢神经功能,改变周围神经的兴奋性,促进神经纤维再生和消除炎症等。并可引起电极下局部皮肤血管扩张和血液循环增加。剂量过大可发生电极下直流电化学灼伤(酸碱、电解产物造成)。
表3-1-1 直流电的生理作用
| 组织兴奋性 | 膜通透性 | 酸碱度 | 组织含水量 | |
| 阳极 | 兴奋性降低 | 降低 | 酸 | 减少组织干燥 |
| 阴极 | 兴奋性增强 | 增加 | 碱 | 增加组织松软 |
根据同性电荷相斥,异性电荷相吸原理,应用直流电将在溶液中能够解离子的药物或在溶液中能成为带电胶粒的药物经过完整无缺皮肤、粘膜或伤口导入体内,导入的离子只达皮内,主要堆积在表皮内形成“离子堆”,以后通过渗透作用逐渐进入淋巴和血液,带到全身各器官和组织,失去原来的正负电荷而变成或分子,该处起化学反应。
直流电药物离子导入特点是:1.导入体内的是有治疗作用的药物成分;2.药物可直接导入较表浅的病灶内,该处的药物浓度比其他给药途径要高得多。由于药物在皮内形成“离子堆”,因此在体内蓄积时间长,疗效持久;3.直流电和药物的综合作用;4.神经反射作用:直流电和药物构成对神经末梢感受器的特殊刺激,通过感觉椫参锷窬诙畏瓷浠矶跋煜嘤诙蔚哪谠嗥鞴俸脱芄δ堋?/P>
(二)治疗作用:直流电疗法具有镇静、止痛、消炎、促进神经再生和骨折愈合,调整神经系统和内脏功能,提高肌张力等作用。
直流电药物离子导入疗法除直流电作用外,取决于所用药物的药理特性,例如各种抗生素、胰蛋白酶导入可治疗伤口、炎症、溃疡、瘘管,钙、溴、咖啡因可调整大脑皮层功能障碍、碘、透明质酸酶导入可消除炎症、疤痕和粘连,治疗脑炎或脑血管意外的康复期。
(三)适应症与禁忌症:
适应症:神经(根)炎,植物神经功能紊乱,慢性溃疡,伤口,放射治疗反应,深浅静脉炎(血栓性)等。
禁忌证:高热,恶病质、心力衰竭、出血倾向者、直流电过敏等。
二、低频脉冲电疗法
低频脉冲电疗法是应用频率1,000Hz以下的脉冲电流治疗疾病的方法,其特点是:对感觉及运动神经有强的刺激作用。
(一)生理作用和治疗作用
1.兴奋神经肌肉组织 能兴奋神经肌肉组织是这种电流的重要特征。哺乳动物运动神经的绝对不应期多在1ms左右,因此频率在1,000Hz以下的低频脉冲电每个脉冲都有可能引起一次运动反应。
2.促进局部血液循环
3.镇痛
(二)常用的低频电疗法
1.感应电疗法 感应电流是用电磁感应原理产生的一种双相、不对称的低频脉冲电流,如图3-1-3,它的频率在60~80Hz之间。在现代新技术中,已能生产出单向尖波脉冲电流称新感应电,频率为50~100Hz,脉冲宽度为1ms,如图3-1-4。

图3-1-3 感应电流的波形

图3-1-4 新感应电波形
这种脉冲参数能兴奋政党的运动神经与肌肉,引起横纹肌完全强直必收缩。当采用间断的感应电流时,即可引起节律性的强直收缩,促进肢体的静脉与淋巴回流,可加强肌肉活动,增加组织间的相对运动,可使轻度的粘连松散,病理产物吸收,常用于治疗癔病性麻痹,防治废用性萎缩、反射击性萎缩、软组织粘连、血循环障碍。
2.间动电疗法 间动电流是将50Hz正弦交流电整流以后叠加在直流电上而构成的一种脉冲电流,常用的波形有6种(图3-1-5):(1)疏波(MF)频率50Hz的正弦波,间隔10ms,幅度恒定。(2)密波(DF)频率100Hz,周期10ms。(3)疏密波(CP)MF和DF交替出现,各持续1秒钟。(4)间断波(LP)又称慢交替疏密波,其中MF持续4秒,DF持续8秒,且密波中一组电压保持稳定,另组电压缓慢起伏。(5)断续波(RS)MF断续出现,通断各1秒。(6)起伏波(MM)MF断续出现,通断时间各4秒,且MF的出现和消失是缓慢的。间动电流的作用主要是(1)止痛:短时止痛和DF,较长时间止痛用CP或LP,(2)改善外周血循环:用阴极的DF作用于交感神经切,MF作用于局部,通过降低交感神经的兴奋性起作用,(3)促进渗出物吸收:CP,(4)锻炼骨骼肌:以RS及MM作用明显,常用于治疗较表浅的神经痛(如枕大神经痛,三叉神经痛),颞颌关节功能紊乱,网球肘,狭窄性腱鞘炎,中心性视网膜炎等。

图3-1-5 间动电流的波形
3、功能性电刺激(FES)疗法功能性电刺激疗法是应用低频脉冲电流,按需编定程序,以一定强度输给人体,也可通过信号一电流转换放大后送入人体,刺激感觉和运动神经(含肌肉)使产生有效功能。目前以应用于神经肌肉系统的功能性电刺激为主要内容。由于下运动神经元的结构完整,电刺激信息中心传入中枢神经系统和适宜的无数重复的运动模式信息,刺激本体感受机制,有助于皮层中兴奋痕迹的建立,从而对瘫痪肢体的步态,姿势和改善运动的随意控制等方面产生持续性影响。所以,神经肌肉功能性刺激的持久效应是由于在脊髓节段和脊髓以上水平多级神经元之间的联结网进行功能性组织与长期学习过程,对于皮层下兴奋与抑制机制,对大脑和小脑控制运动机能均有一定的影响。
功能性电刺激(TENS)疗法 经皮神经电刺激疗法是通过皮肤将特定的低频脉冲电流输入人体以治疗疼痛的电疗方法,这是70年代兴起一种电疗法,在止痛方面收到较好效果,TENS主要是通过刺激感觉纤维而达到止痛作用,因此要求频率低限0.5~10~25Hz。高限90~120~500Hz,波形为单向方波,单向方波调制中频电,对称或不对称双向方波(见图3-1-6),波宽10~500微秒。最佳镇痛频率应通过病人在自行调节中摸索。其镇痛机制主要以“闸门”控制假说和内源性吗啡多肽理论来解释。主要用于治疗各种原因引起的急、慢性疼痛,包括头痛、各种神经痛、关节痛、术后疼痛、产痛、癌性痛等。带有心脏起搏器的病人禁用此疗法,特别是按需型起搏器更应注意,因为TENS的电流容易干拢起搏器的步调。

图3-1-6 TENS疗法的几种波形
(三)低频电疗法的禁忌证
急性化脓性炎症,出血性疾病,严重心脏病,高热等均不适做低频电疗。
三、中频电疗法
应用频率为1,000~100,000Hz的正弦电流治疗疾病的方法,称中频电疗法,目前临床上常用的有干扰电疗法,调制中频电疗法和等幅正弦中频(音频)电疗法三种。
(一)作用特点
1.无电解作用,对皮肤刺激小。
2.降低组织电阻,增加作用深度。
3.对机体组织有兴奋作用,但需综合多个刺激的连续作用才能引起一次兴奋,这即所谓中频电刺激的综合效应。
4.低频调制的中频电流,兼有低、中频电流的特点(图3-1-7)。

图3-1-7 等幅中频电流与由低频调制的中频电流
(二)生理及治疗作用
1.镇痛 中频电疗作用的局部,皮肤阈明显增高,临床上有良好的镇痛作用。其机制:(1)直接止痛:通过皮层干扰效应,掩盖效应或兴奋粗纤维,阻断冲动及引起内源性吗啡样多肽物质(如脑啡肽)释放而直接止痛;(2)间接止痛:通过改善血液循环,减轻组织间和神经纤维间水肿,减轻缺血所引起的肌肉痉挛、酸中毒、促进K+、激肽、ATP等致痛化学物质的排除而间接止痛。
2.促进血循环 中频电流,特别是50~100Hz的低频调制中频电流,有明显促进局部血液循环的作用,可使皮肤温度升高,小动脉和毛细血管扩张,开放的毛细血管数目增多等。其作用机理:目前认为与电流刺激引起轴突反射和肌肉活动随后释放出ADP、ATP等代谢产物,引起某些血管活性介质(P物质和乙酰胆硷等)的释放及交感神经抑制的关。
3.兴奋骨骼肌 低频调制的中频电流与低频电流的作用相仿,能使骨骼肌收缩,且较低频电流更为优越:(1)对皮肤感觉神经末梢的刺激小,又无电解作用,有利于长期治疗;(2)人体对此电流耐受好,电流进入深度大,特别对深部病变效果好。
(三)常用的几种中频电疗法
1.等幅中频电疗法(音频) 应用频率为1,000~5000Hz的等幅正弦电流治疗疾病的方法称音频疗法,目前常用频率为2,000Hz。其主要治疗作用为软化疤痕和松解粘连,术后早期应用有预防疤良增生作用。因疤痕而引起的痒痛于治疗数次或数十次后可减轻或消失。肥厚增生的疤痕经数十次治疗可变软,变薄,缩小。因此临床上常用于各类疤痕,肠粘连,声带小结等的治疗。

图3-1-8 干扰场的形成
2.干扰电疗法 干扰电疗法同时使用两组频率相差0~100Hz的中频正弦电流,交叉地输入人体,在交叉处形成干扰场(图3-1-8)在深部组织产生低频调制的脉冲中频电流,以治疗疾病的一种方法。该疗法特点,输入呈两组中频电流(一路频率固定4,000Hz另一路为4,000±交叉输入人体,在机体深部产生0~100Hz的差频电流(图3-1-9),因而电流的作用深度加大,而且“内生”低频调制中频电兼有低频和中频的优点,从而达到以中频电流通过皮肤高电阻,在人体深部获得低,中频电流效用。此外还可采用三组电流按照三度空间同时输入人体形成成立体干扰场,称立体干扰电疗法。也可以输入两组中频电流的幅度在一定范围内自动变化(动态),两组电流幅度变化以相反位(图3-1-10,也可相同,形成动态干扰场,称动态干扰电疗法,干扰电疗法其差频选择见(表3-1-2),常用于治疗各种软组织损伤、肩周炎、关节痛、肌肉痛、神经痛、局部血循环障碍性疾病,废用性肌萎缩,胃下垂,习惯性便秘及锻炼失神经肌肉等。
| 差频(Hz) | 治疗作用 |
| 100 | 抑制交感神经,止痛 |
| 90~1000 | 止痛 |
| 50~100 | 止痛,促进局部血循环 |
| 50 | 促进局部血循环 |
| 25~50 | 引起正常肌肉强直收缩 |
| 20~40 | 兴奋迷走神经,扩张局部动脉 |
| 1~10 | 兴奋交感神经,使平滑肌收缩,使失神经肌肉收缩(1~2Hz) |
| 0~10 | 作用广泛,并有上述多种作用 |

图3-1-9 不同频率的两种正弦电流综合的结果

图3-1-10两组电流幅度变化,输出电流的强弱自动变化,且变化方向相反
3.调制中频电疗法 调制中频电流是一种低频调制的中频电流,其载波(中频)频率为2,000~5,000Hz波形有正弦与梯形波,调制(低频)频率为10~150Hz,调制波形有正弦波,方形波,指数曲线波。输出波形(图3-1-11)有(1)连续调制波(连调),调制波连续出现;(2)交替调制波(交调),调制波和未调制波交替出现;(3)间断调制波(断调),调制波间断出现;(4)变频调制波(变调),两种频率不同的调制波交替出现。上述四种波形均可以全波或整流半波的形式(正半波或负半波)出现(图3-1-12),调制中频电流特点:(1)这是用10~150Hz的低频电流调制的“外生”中频电流。兼有低频、中频两种电疗的特点;(2)不同波形和频率交替出现,可以克服机体对电流的适应性;(3)调制深度可以改变(0~100%)。用以改变刺激的强度;(4)断调波加入可调制电流时间,以使治疗失神经肌肉时,可让肌肉得到不同时间的休息。(5)选用半波调制电流可以做药物离子导入。不同波型的主要作用特点:(1)连调波,止痛和调整神经功能作用,适用于刺激植物神经节;(2)间调波,适用于刺激神经肌肉;(3)交调与变调波,有显著止痛,促进血液循环和炎症吸收的作用。该疗法与干扰电疗法适应证相同,还可治疗小腿淋巴淤滞,输尿管结石,中心性视网膜炎及视神经炎等。
(四)中频电疗法的禁忌证
急性化脓性炎症,安装心脏起搏器的患者,治疗部位有较大金属异物,孕妇下腹等。

图3-1-11 正弦调制中频电流的主要波形

图3-1-12 正半波的交调波
四、高频电疗法
医学上把频率超过100,000Hz的交流电称为高频电流。应用高频电流防治疾病的方法称高频电疗法。在临床上常用的高频电疗法有短波疗法,超短波疗法,微波疗法。
(一)作用特点
1.对神经肌肉无兴奋作用。
2.产生热效应及非热效应。
3.治疗时电极可以离开皮肤。
(二)生物学效应
1.热效应 由于高频电流引起人体组织内微粒的运动,在组织内就可产生热效应,其产生原理如图3-1-13。

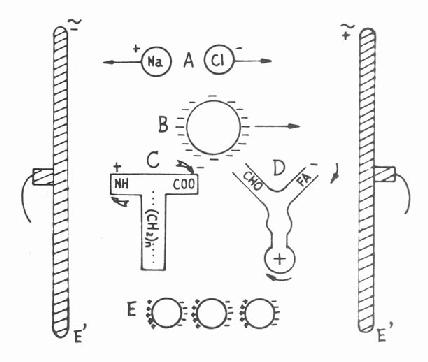
图3-1-13 人体电荷在高频电作用下的变化模式图
E‘-电极 高频电的瞬间极性;A-简单离子;B-带电胶体
C-氨基酸偶极子; D-神经鞘磷脂型极性分子;CHO 碳氢链;
FA-脂肪酸;E排列成链的电荷;箭头各种电荷在该瞬间的运动方向
当高频电流通过人体中,机体中离子(A),带电胶体颗粒(B)在电场中产生快速沿电力线方向的来回移动或振动,以传导电流形势通过组织,机体中的电介质分子(C)(D)在高频电场中,无极分子产生电子位移极化,有极分子产生取向极化(图3-1-14),以电位移电流形式通过组织,随着频率的增高,传导电流所占的比重逐渐减少而位移电流所占比重逐渐增加。高频电流通过机体时,传导电流引起机体内的欧姆耗损,位移电流引起机体内的介质耗损,因而在各种组织中产生程度不同的热效应。(1)高频电流→导体部分→离子及带电胶体振动→传导电流(包括涡流)→欧姆耗损→热效应。(2)高频电流→电介质(包括电容)→偶极子取向及旋转→位移电流→介质耗损→热效应。

图3-1-14 电介质原子无电场和有电场作用时的电荷分布
黑园心-正电荷;园圈-负电荷; 虚线-原子范围;
E-电极;A-无电极场作用时;B-有电声作用时
2.非热效应当以上变化强度小到不足以产生体温升高的情况下,高频电流仍可使离子,带电胶体,偶极子发生振动和转动,亦有可能改变组织变化,生物物理学特性,即电磁场振荡效应。如由于共振吸收产生的选择性点状产热;乳脂,红血球带电颗粒沿电场力线分布排列成串珠状(E)现象,体内磁性物质受到不同程度的磁场改变等,由此产生的生物学效应称非热效应。
(三)几种常用高频电疗法。
1.短波疗法:应用波长为100~10米的高频交流电在体内产生磁场院或电场以此来达到治疗目的的方法,称短波电疗法。由于采用电缆线圈电极,治疗时主要利用高频交变电磁场通过导体组织时产生涡流(图3-1-15)而引起组织产热,故又称感应透热疗法。短波疗法产生涡电流属传导电流,重点作用于肌肉,肝及肾等电阻小的组织,对脂肪及骨组织作用小,后者可采用电容电极法,通过高速皮肤与电极距离达到作用部位。其主要治疗作用:(1)可使组织的小动脉及微血管扩张,改善血循环;(2)缓解胃肠平滑肌的痉挛具有止痛作用;(3)作用于肾上腺区时,有促进肾上腺皮质醣皮质激素分泌功能,提高儿茶酚胺类物质的分泌作用。用于治疗亚急性及慢性炎症,功能性和器质性血循环障碍,外伤手血肿,内脏平滑骨痉挛等。

图3-1-15 短波电缆作用园柱形导体时,其内产生的涡流
2.超短疗法 应用波长10~1米的超高频交流电作用人体,以达到治疗目的的方法,常用电容电场治疗,亦称超高频电场疗法,主要生物学效应是热效应及非热效应,它的热效应与短波不完全相同,因在超高频电场作用下,以位移电流点优势,介质损耗产热为主,产热分布比较均匀,但由于脂肪组织血管少,热量不易为血流带走,易产生脂肪过热,在实际治疗时可调整皮肤与电极距离使深部组织温度升高,皮及皮下脂肪温度降低。超短波在用低强度作用,且用目前一切方法不能测出温度升高时,其生物学效应仍非常明显,而同样外源热作用则无类似效应。如:当应用短时间无热量超短波作用人体时,对急性炎症的消退比长时间温热作用时的效果更明显,此外还可引起其他组织器官的反应,统称为非热效应。非热效应在低强度作用时表现明显,高强度作用时这种特殊作用就被热效应所掩盖。
超短波对全身各个系统都有一定的作用,首先,是消炎作用,大量临床观察和实验研究证明超短波对炎症,特别是急性化脓性炎症有良好的作用。在治疗急性炎症时,小剂量有明显的消炎作用,大剂量有时反可使病情恶化,这与它能改善血液和淋巴循环,使病灶的pH向碱性移行,有脱水作用,使巨噬细胞和白细胞的吞噬能力增强,凝集素和补体增加等有关;第二,对肾脏有扩张肾血管,解除肾血管痉挛,使尿量增加,尿蛋白降低;第三,可降低血管张力,使小动脉毛细血管扩张,组织细胞营养改善;第四,可降低神经系统的兴奋性,应用小剂量的超短波,作用于颈交感神经节,可使高血压病人血压下降。第五,加强结缔组织再生,促进肉芽组织生长。因此临床上常用于(1)全身各系统、器官的一切炎症,对急性、亚急性效果更好,特别是对化脓性炎症疗效显著;(2)各种创伤,创口及溃疡;9(3)急性、亚急性肾炎,急性肾功能衰竭引起的少尿,无尿疗效显著;(4)血管运动神经及植物神经功能紊乱的疾病;症状性高血压(Ⅰ、Ⅱ期),闭塞性脉管炎,雷诺氏病等;(5)疼痛性疾病:神经痛,灼性神经痛,肌痛等。
3.微波疗法 微波疗法是应用波长为1米~1毫米的特高频电磁波作用于人体以治疗疾病的方法,它与短波、超短波不同,是一种定向电磁波辐射疗法,根据波长不同可将微波分为分米波(波长100~10cm),厘米波(波长10~1cm),医用微波波长多为12.5cm(频率2,450Hz)。微波的波长介于长波红外线与超短波之间,因此某些物理性质类似光波,如呈波束状传播,具有弥漫性能,遇不同介质可引起反射、折射、绕射、吸收、聚集等;微波辐射人体时,一部分能量被吸收,另一部分能量则为皮肤及各层组织所反射,其中富于水分的组织较多地吸收微波能量,而脂肪及骨组织反射较多。因此微波的热效应应以富于水份的组织及界面多的器官(眼睛,盆腔)产热大。生殖系统如睾丸对微波特别敏感,加之睾丸血循环差,散热慢,当局部温度高于35°C时精子产生受抑制,曲细精管萎缩局灶性坏死,因此在实际工作中要注意加强对眼睛及生殖系统的防护,对血循环和富于水分的组织应避免过量引起病情恶化。
微波具有镇痛、消炎、脱敏和改善组织和营养作用,常用于治疗肌肉,关节及关节周围非化脓性炎症和损伤,如肌炎、腱鞘炎、肌腱周围炎、滑囊炎、肩周炎及关节和肌肉劳损等微波效果显著。
4.射频疗法应用无线电波作用于人体产生高温以治疗疾病的方法称为射频疗法,又称高频加温治癌。高频,超高频及特高频(微波)电磁波都属于射频范围,但目前国内外多应用短波与微波波段,主要利用其产生的高温以治疗癌瘤。作用机理:由于癌瘤组织血管生长用短波与微波波段,主要利用其产生的高温以治疗癌瘤。作用机理:由于癌瘤组织血管生长畸形,血液仅为周围正常组织的2~15%。当射频电能为组织吸收转变为热能而使组织温度升高时,正常组织可通过有效血循环散热,而癌瘤组织因循环差,不能及时将热带走,故癌瘤内的温度升高,可比正常组织温度高5~10.4°C,且持续较长时间。故可利用适量射频电能作用癌瘤局部,使癌周围健康组织达42°C~43.5°C(正常组织热损伤阈为45°C)时,可使癌组织强度升至47~55°C,从而达到杀来癌细胞目的,而周围正常组织不致受到损伤。高温作用下癌组织的氧代谢降低,乳酸增加,pH降低;同时使癌细胞内的脱氧核糖核酸,核糖核酸及蛋白质合成受到抑制,此外癌细胞浆内的溶酶体活性增强,并有大量新的溶酶体产生,最后导致癌细胞溶解。另外射频电能使癌瘤周围正常组织的血循环和供氧量增加,有利于改善化疗药物的输送,高温能使一些抗癌的化学药物作用增强。同时,抗拒放射线的S期细胞(DNA合成期细胞)对高温最敏感,易被杀灭,还能增强乏氧期细胞对放射线的敏感性。因此,射频高温疗法与放疗、化疗并用能显著提高灭癌效果,同时还可养活放射线和化疗药物用量,减轻副作用。常用的仪器有(1)大功率短波治癌机,治疗深部或浅部癌瘤;(2)微波治癌机,只能治疗表浅部位的癌瘤;(3)分米波治癌机作用较微波深,对皮下组织损伤少,而加热效果则优于微波治疗机。
(四)高频电疗法禁忌证
凡有活动性肺结核,装起搏器及心瓣膜转换者,孕妇腹部、心力衰竭,有出血倾向者均不适宜做高频电疗。恶性肿瘤一般剂量为禁忌。
磁疗是利用磁场作用于人体治疗疾病的方法。从所周知,世界上的一切物体,小至基本粒子,大至天体都具有一定的磁性,地球本身临其境一个巨大的磁场,地球上一切生物和人体一直受着地磁场这一物理环境因素的作用,地磁场成为生物体维持正常生命活动的不可缺少的环境因素。
一、磁疗和基础理论
1.物质磁来源任何物质的每一个分子周围都有环形电流不停地流动着,这环形电流叫做分子电流。即相当于一个元磁铁(即磁体分子)。一切磁现象都是由于运动电荷(电流)而发生的,即磁现象的本质就是电荷运动。
2.生物磁来源 主要有:(1)生命活动产生生物电流,生物电流便产生磁场。如心、脑均能产生心磁场,脑磁场。(2)生物体固有或外界引入的磁性物质,经磁化产生的微弱磁场。(3)生物磁场对外加磁场的反应。
3.磁场对电荷及另一磁场的作用(1)磁场对运动电荷的作用劳伦兹力;(2)磁场对载流导体的作用棗安培定律;(3)磁场对环形电流的作用棗磁距;(4)电磁场应作用棗产生电动热和应电流。
二、作用机制
(一)电动力学理论
1.产生微电流在交变磁场中,磁力线作切割导体(人体)的运动;在恒定磁场中,由于血管和血液的运动,对磁力性进行切割,均可产生微电流,对人体生物生活活动发生影响,从而影响各器官各组织的代谢和功能。
2.磁场对生物电的作用在磁场作用下,生物电流(如心电、脑电、肌电及神经动作电位)将受到磁场力的作用,引起有关组织器官的功能发生相应变化。另外磁场还对生物体内氧化与还原过程中电子传递过程产生作用而影响生化过程。
(二)酶学说
磁场通过对人体金属离子(Ca++,Mn++,Mg++,或Zn++和非金属离子(Na+,K+,Ca++,Cu++及CI-等0作用影响酶的催化活性,而对人体产生作用。有人认为磁场有镇静止痛、降低血压和减轻炎症反应等作用,同磁场提高胆硷酯酶,单胺氧化酶,组胺酶和激肽酶的活性有关。
(三)经穴作用
现代仪器检查证实;穴位经络存在电活动现象,如穴位比周围有较高的电位,当某脏器的功能亢进时,相应经络穴位皮肤电位增商或电阻下降。磁场可能影响经络的电磁活动过程而起机能调节作用。
(四)神经内分泌作用
神经和体液系统对磁场的作用最为敏感。神经系统以丘脑下部和大脑皮层最为敏感,主要是对神经系统的抑制作用、动物实验表明在磁场作用正点动物某些激素分泌增加。
三、治疗作用
(一)止痛作用
磁场有明显止痛作用,其机制通过改善微循环和组织代谢,提高疼痛物质水解酶的活性,降低神经兴奋的作用等。
(二)镇静作用
磁疗可改善睡眠状态,缓解肌肉痉挛,减轻面肌抽搐等,这可能与磁场物质水解酶的活性,降低神经兴奋的作用等。
(三)消炎、消肿作用
磁场有明显抗渗出作用。实验观察表明,磁场即有降低炎剂(组织胺等)使血管通透性增加的作用,又能加速蛋白质从组织间隙转移的作用,说明磁场的消肿作用与其影响通透性和胶体渗透压有明显关系。
四、常用的几种磁疗法
(一)恒定磁场法
磁场强度和方向保持不变的磁场称为恒定磁场或恒磁场法(图3-1-16-①)。如铁磁片和通以直流电的电磁铁所产生的磁场。常用有穴位法和磁带法。

图3-1-16-① 恒定磁场
1.穴位法将磁片或磁珠用胶布敷贴切在选定的经络穴位上或病灶周围的一些点上。
2.磁带法将磁带缚于体表穴位或病灶上进行治疗,其作用与磁穴法基本相同,但不需用胶布粘着。
(二)交变磁场法
磁场强度和方向有规律变化的磁场(图3-1-16-②)。

图3-1-16-② 交变磁场
1.电磁场疗机 多采用每秒钟5~100周的低频率交变磁场,治疗时选择合适的磁头放置在穴位部或患部。治疗时磁头可发热,故应注意防止烫伤。
2.异名极旋转磁疗机
(三)脉冲磁场法
脉冲磁场是提磁场强度有规律变化而磁场方向不发生变化的磁场(图3-1-16-③)。如同名极旋转磁疗机。

图3-1-16-③ 脉动磁场
(四)脉冲磁场法
脉冲磁场是间歇出现磁场,磁场的变化率,波形和峰值可根据需要进行调节。
(五)磁处理水疗法
水以一定流速(0.1米/秒左右0,垂直于磁力线方向通过磁场后,即为磁处理水。磁处理水使水分子结合状态发生变化,这样水容易渗入坚硬水垢的缝隙中,使原来较坚固的大块结晶变成小园球。因此长期饮用大量磁处理水,对结石的局部及周围组织的慢性炎症有溶解、冲洗和消炎作用。
五、主要适应证及禁忌证
(一)适应证
临床上常用于治疗急性胃炎、慢性结肠炎、急性软组织损伤、肩周围炎、网球肘、腱鞘炎、血肿、滑囊炎、三叉神经痛、枕大神经痛,眶上神经痛,单纯婴儿腹泻,颞颌关节功能紊乱、冠周炎等。
(二)禁忌证
磁疗法目前尚无绝对禁忌证,但下列情况一般不用磁疗:(1)白细胞总数在4,000个/cm2以下者;(2)出血或有出血倾向者;(3)高热者;(4)孕妇;(5)体质衰弱或过敏体质者。
超声波是指频率在20,000HZ以上,不能引起正常人听觉反应的机械振动波。将超声波作用于人体以达到治疗目的的方法称为超声波疗法。目前理疗中常用的频率一般为800~1,000千赫。治疗方面除一般超声疗法外,还有超声药物透入疗法,超声雾化吸入疗法,超声复合疗法、超声治癌等。
一、物理特性
超声波与声波的本质相同,都是物体的机械振动在弹性介璺中传播所形成的机械振动波。因此超声波的传播必须依赖介质,而且在介南传播时产生一种疏密交替的弹性纵波,具有一定的方向性;超声波的传播速度与介质的特性有关,而与声波的频率无关;传播距离与频率(同一媒质)、介质的特性、温度及半吸收层有关:超声波在两种不同介质中传播,在声阻不同的两界面就会发生反射和折射现象,两种介质的声阻差愈大,则反射能量愈多。超声波的声场不均匀,因此,在治疗时声头位在治疗部位缓慢移动。
二、生物学效应的作用机理
(一)机械作用
超声波在介质中疏密相间的传播,交变声压作用介质点,引起组织细胞容积和内容移动变化及细胞原浆环流,从而对组织,内物质和微小细胞器产生一种“微细按摩的作用”,这种作用可改善血液和淋巴循环,增强细胞膜的通透性,降低神经的兴奋性,使坚硬的结缔组织延长变软。
(二)温热作用
超声波在机体组织内传播时,一部分能量被组织吸收由机械能转变成热能。超声产热的特点是人体各组织吸收声能不一,产热不等,在整个组织中,超声产热是不均匀的,在两种不同组织交界面产热较多,如骨膜上可产生局部高热,这在关节、韧带运动创伤的治疗上有很大意义。这与高频电及其它物理因子所具有的弥漫性热作用(均匀性加热)是不同的(图3-1-17)。

图3-1-17 四种深部透热治疗时各层组织温热曲线
(三)理化作用
在超声波作用下引起化学反应的加速或抑制,对高分子化合物的聚合与解聚(蛋白质的解聚及合成加速)、氢离子浓度的变化(pH向碱性方向变化),酶活性变化(水解酶活性)和某些高活性化学物质形成(HO3,OH、H2O2、O等)。
上述三种作用机理的关系,多数学者认为,具有物理学特发生的超声机械振动,以及在此基础上产生的分布特殊的“内生热”和必然引起的生物物理化改变,是有机联系,孤立的强调哪一方向的作用都是片面的。
三、治疗作用
(一)对神经系统的影响
小剂量超声波能使神经兴奋性降低,传导速度减慢,因而对周围神经疾病、如神经炎、神经痛,具有明显镇痛作用。
(二)对吉缔组织的作用
对有组织损伤的伤口,有刺激结缔组织增长的作用;当结缔组织过度增长时,超声波又有软化消散作用,特别对于浓缩的纤维组织作用更显著。因此超声波疤痕化结缔造组织有“分离纤维”作用,有使“凝胶变为溶胶”的作用。
(三)对骨髓的影响
小剂量超声波多次投射可以促进骨骼生长,骨痂形成;中等剂量作用时可见骨髓充血,温度上升7°C,但未见骨质的破坏,故可用于骨关节创伤,大剂量超声波作用于未骨化的骨骼,可致骨发育不全,因此对幼儿骨骺处禁用超声。
四、适应证及禁忌证
(一)适应证
临床常用于治疗运动支撑器官创伤性疾病,如腰痛、肌痛、挫伤、肩周炎、颞颌关节功能紊乱、腱鞘炎等;
疤痕,粘连等结缔组织增生,如炎症后硬结,注射后硬结,血肿机化、慢性附件炎等;下行神经炎、神经痛、带状疱疹等。
(二)禁忌证
活动性肺结核,严重心脏病、急性化脓性炎症,恶性肿痛(一般剂量禁忌),出血倾向,孕妇下腹部、小儿骨骺部位等不宜用超声波治疗。
五、其它几种超声波疗法
(一)超声药物透入疗法
超声药物透入疗法系将药物加入接触剂中,利用超声波对媒质的弥散作用和改变细胞膜的通透性把药物经过皮肤或粘膜透入机体治疗方法。该疗法的特点:(1)超声和药物综合作用,声透疗法不仅能将药物透入体内,同时保持原有药物性能;(2)声透疗法是将整个药物分子透入体内,所用药源较广,不限于电离和水溶物质,可以根据药物性能配成水剂、乳剂或没膏等作为接触剂被透入;(3)无电刺激现象,不发生电灼伤,操作简便。临床应用的超声波的适应证及药物作用的适应证,二者结合起来考虑。
(二)超声雾化吸入疗法
超声雾化吸入疗法系气雾及吸入疗法的一种,是利用超声的空化作用,使液体在气相中分散,将药液变成雾状颗粒(气溶胶)、通过吸入直接作用于呼吸道病灶局部的一种疗法。应用超声雾化器产生的气雾,其雾量大,雾滴小而均匀,吸入时可深达肺泡,适合药物在呼吸道深部沉积。该疗法特点:药物可直接作用于呼吸道局部,使局部药物浓度高,药效明显,对呼吸道疾病疗效快。用药省,全身的反应少。常用于各种急、慢性呼吸道感染,慢性支气管炎、肺气肿,支气管哮喘、肺心病、肺结核,矽肺及全身其它疾病引起的肺部并发症等预防和治疗。
(三)超声与各种低、中频电流混合疗法
近年来国内外采用低、中频电流附加超声波同时进行治疗。在国外发现各种低频脉冲电流中,以间动电流与超声波并有效果最佳。国内还采用超声椀确衅档缌鳎鶙调制中频电流混合疗法。经实验研究与临床观察证明,在止痛作用,促进血循环与淋巴回流,调节神经肌肉紧张度,软化疤痕与松解粘连等方面均优于两种疗法的单一使用,二者有非常显著的协同作用,适应证见超声波、低、中频电疗法。
光疗法是利用阳光或人工光线(红外线、紫外线、可见光、激光)防治疾病和促进机体康复的方法。日光疗法已划入疗养学范畴。理疗学中的光疗法是利用人工光辐射。
一、光的性质和产生
(一)光的性质
光是一种辐射能,在真空中以3×1010cm/秒速度直线传播。现认为光既是一种电磁波又是一种粒子流,对光的波动和粒子的双重性质称为波一粒二重性。光量子学说认为光量子学说具有一定能量,不同的光线由于光量子能量不同,可引起光化学效应,光电效应,荧光效应和热效应等,这些效应则成为光生物学作用的基础。
(二)光的产生
原子和分子都具有一定的内能,这种内能的数值是不连续的,只能有某些特定的值,即原子或分子只能处于某些不连续的能量状态。一般情况下,大多数分子或原子处在能量最低的运动状态,称为基态。能量较高的状态称为激发态。如果物质受到外界作用之后,从外界吸收大量能量,许多原子和分子则由基态过渡到激发态。倡处在激发态的原子或分子极不稳定,会自发地从激发态过渡到下能级或跳回基态,多余的能以电磁波的光子形式向四周发散出,此种发射为光的自发辐射,即普通光的产生。如红外线,可见光及紫外线。有些物质由于其内部结构的关系,其中原子或分子被激发到激发态后,不能立刻回到基态,而是很快地过渡到某个或几个寿命较长的中间状态。原子或分子在这些状态仪的时间较长,对于其它激发态讲比较稳定,这种相对稳定的状态称为亚稳态。由于亚稳态的寿命较长,物质受到强烈作用后,可使亚稳态的粒子数比基态或下能级的多,致使粒子数反分布。处在反分布的原子或分子,如果受到入射光子的作用,而此光子的能量恰等于原子(或分子)亚稳态与基态或下能级能量之差,则这些受激原子或分子就从亚稳态跳到基态或某个下能级,同时发射一个与入射光频相同的光子,这种发射称为光的受激辐射。它是激发原子(或分子)受到光子激发以且的发光现象,由于产生这些光子在物质中继续前进时会激发更多的光子,所以光与激活物质作用时,不是减弱了光束,而是使光束加强,因此利用受激辐射有可能使光放大产生激光。
二、光的基本理化效应
(一)热效应
红外线和可见光被吸收后,因其光量子能量较小,使受照射物质的分子或原子核运动速度加快,因而产生热效应。
(二)光电效应
紫外线及可见光(短波部分)照射可引起光电效应。产生光电效应的基本条件是每个光子的能量必须足以使电子从电子轨道上逸出,实验证明,紫外线可见光线照射人体,动植物、金属和某些化学物质时,均可产生光电效应。
(三)光化学效应
光化学效应所需能量较大,多由紫外线,可见光线引起。包括光合作用,光分解作用、同质异构化作用、光聚合作及光敏反应。
(四)荧光效应
某些物质吸收了波长较短的光能后可发生波长较长的光能。如紫外线照射某物质发出可见光的现象。
三、红外线疗法
应用红外线(波长0.76~400微米)治疗疾病的方法称为红外线疗法。红外线是一种不可见光线,因位于可见光谱红色光线之外而得名。
(一)物理性质
在光谱中波长0.76~400微米,分为近红外线和远红外线两类:近红外线波长0.76~1.5微米,穿入人体较深,约5~10毫米,如白炽灯;远红外线波长1.5~400微米,多被表层皮肤吸收,穿透组织深度小于2毫米,如红外线灯。
(二)治疗作用与适应证
红外线的治疗作用基础是温热效应,具有改善血循环,促进吸收,缓解痉挛,消散慢性炎平及镇前等作用(表3-1-3)。
表3-1-3 红外线治疗作用与适应证
| 治疗作用 | 适应症 |
| 1.改善局部血循环,促进炎症消散 | 慢性炎症 |
| 2.降低神经兴奋性、镇痛、解痉 | 神经性皮炎、神经根炎、周围神经损伤 |
| 3.减少渗出,促进肉芽生长,加速伤口愈合 | 烧伤创面、慢性伤口、褥疮、乳头裂 |
| 4.促进肿用及血肿消散 | 扭挫伤,软组织损伤 |
| 5.减轻术后粘连,软化疤痕,减轻疤痕挛缩 | 术后粘连,注射后硬结,疤痕挛缩 |
(三)其它作用
1.对眼睛的作用由于眼睛含有较多的液体,对红外线吸收较强,因而一定强度的红外线直接照射眼睛时可引起白内障,因此在做面部照射时注意保护眼睛。
2.光浴对机体的作用光浴的作用因素是红外线,可见光和热空气,光浴有利于肾功能恢复,加强免疫力,促进神经肌肉功能恢复。
(四)禁忌证
凡有出血倾向、高热、活动性肺结核、闭塞性脉管炎,重度动脉硬化均不宜做红外线疗法。
四、紫外线疗法
应用紫外线防治疾病的方法称为紫外线疗法。紫外线系不可见光,因位于可见光谱紫色光线的外侧而得名。
(一)紫外线光谱生物学作用特点
紫外线的波长400~180nm。其光谱分三个波段。(1)长波紫外线(UVA),波长范围400~320nm;(2)中波紫外线(UVB)波长范围320~280nm;(3)短波紫外线(UVC),波长范围280~180nm。
紫外线的各种生物学作用都有有一定的光谱特点,从而可描绘出一定曲线,即紫外线生物学作用的光谱曲线(图3-1-18)。

图3-1-18 紫外线生物学作用的光谱曲线
Ⅰ-杀菌作用曲线
Ⅱ-维生素D形成作用曲线
Ⅲ-皮肤红斑形成作用曲线……色素形成 作用曲线
Ⅰ紫外线杀菌作用线:在短波部分,杀菌作用最强的部分为250~260nm。
Ⅱ紫外线在维生素D作用曲线:也有最高峰值,波长位于280nm。
Ⅲ紫外线的红斑形成曲线;有两个高峰,第一个高峰位于波长297nm。第二个高峰位于波长250~260nm。虚线为色素形成作用曲线表明其作用最强部分在长波紫外线的范围内。
(二)生物学效应
紫外线透入人体皮肤的深度不超过0.01~1mm,大部分在皮肤角质层中吸收,使细胞分子受激呈激发态,形成化学性质极活泼的自由基,因而产生光化学反应如光分解效应、光化合效应,光聚合作用和光敏作用.当达到一定照射剂量时,可引起蛋白质发生光解或核酸变性,细胞损伤后影响溶酶体,产生组织胺、血管活性肽、前列腺素等体液因子、通过神经反射与神经一体液机制。经过一定时间,照射区皮肤出现红斑。它有严格的界限,是一种非特异性炎症反应。根据照射剂量大小,机体对紫外线的敏感性和季节、体持和和肠道对钙磷的吸收,促进钙在骨基质中沉积,并与体内调节钙代谢的其他因子协同作用,使钙磷在体内保持正常水平。
(三)治疗作用
1.抗炎作用紫外线红斑量照射是强有力的抗炎因子,尤其对皮肤浅层组织的急性感染性炎症效果显著。紫外线抗炎作用机理:(1)杀菌;(2)改善病灶的血循环;(3)刺激并增强机体防御免疫功能。
2.加速组织再生小剂量紫外线照射可促进组织再生,于骨折、周围神经损伤等均可应用小剂量紫外线以促其再生。作用机理:(1)加强血液供给有利于营养物质进入;(2)小剂量紫外线加速核酸合成和细胞分裂。
3.镇痛紫外线红斑量照射具有显著的镇痛作用,无论对感染性炎症、非感染性炎症痛,风湿性疼痛及神经痛均有郎的镇痛效果,其镇痛机理有(1)对表皮深层的感觉神经末梢的直接作用,使其进入间生态或使其发生可逆的变化。(2)对于较深层组织止痛,可用优势兴奋波士顿,掩盖效应即来解释紫外线红斑所产生的冲动与痛觉冲动在传入经路上的互相竞争与互相干扰。
4.脱敏紫外线照射后在体内产生与蛋白质相结合的组织胺,具有一定的抗原性能,剂量逐渐增加的重复的紫外线照射所产生的组织胺,可促进机体分泌组织胺酶以破坏体内过量的组织胺,从而起到非特异性的脱敏作用。此外紫外线照射后维生素D增多,致使机体对钙吸收增多,钙离子可降低神经系统兴奋性和血管通透性,迹有利于减轻过敏反应。
5.预防和治疗佝偻病和骨软骨病机体组织缺钙,在小儿患佝偻病,在成人,尤其是孕妇,则患骨软骨病,还易患骨折,骨髓炎及龋齿等,采用全身无红斑量紫外线照射,可促进维生素D的生成,调节钙磷代谢,预防和治疗由紫外线缺乏带来的疾病。
6.加强免疫功能机体长期缺乏紫外线照射,可致免疫功能低下,对各种病原微生物的抵抗力减弱,故易患各种传染病,如皮肤化脓性炎症,感冒、流感、肺结核、气管炎及肺炎等,紫外线无红斑照射通过使皮肤的杀菌力增强;加强巨噬细胞系统的功能,提高巨噬细胞活性及使体液免疫成分含量增多,活性增强来提高机体的特异和非特异性免疫功能。
(四)适应证及禁忌证
1.适应证红斑量紫外线常于治疗急性化脓性炎症(疖、痈、急性蜂窝织炎、急性乳腺炎、丹毒、急性淋巴(腺)管炎、急性静脉炎)以及某些非化脓性急性炎症(肌炎、腱鞘炎);伤口及慢性溃疡;急性风湿性关节炎、肌炎;神经(根)炎及一些皮肤病,如玫瑰糠疹、带状疱疹,脓胞状皮炎等。
全身无红斑量紫外线常用于预防和治疗佝偻病,骨罗软骨病,长期卧床骨质疏松、流感、伤风感冒等。
2.禁忌证
大面积红斑量紫外线照射对于活动性肺结核,血小板减少性紫癜、血友病、恶性肿瘤、急性肾炎或其它肾病伴有重度肾功能全,重度肚功障碍、急性心肌炎、对紫外线过敏的一些皮肤病(急性泛性湿疹、光过敏症、红斑性狼疮的活动期等)是禁忌。
全身无红斑量照射对于小儿严重渗出性素质是禁忌。
五、激光疗法
激光即由受激辐射光放大而产生的光,又称Laser,激光疗法是利用激光器发出的光进行治疗疾病的一种方法。要产生激光,激光器必须有三个组成部分,(1)激光工作物质,包括固体、液体、气体、半导体,如氦-氖、红宝石、二氧化碳、染料、砷化镓,被激励后能发生子数反转;(2)激光能源,使工作物质发生粒子数反转的能源;(3)光学谐振腔,能使光线在其中反复振荡和多次被放大,激光是处于光学谐和振腔中的激光工作物质,在外界能源的激励作用下发生了粒子数反转,粒子从高能级受激跃迁到低能级时,在光学谐振腔中被放大,转出一种方向性强,高亮度,单色性好,相干性好的光。
(一)生物学效应
1.光效应组织吸收激光能量之后,可产生光化学反应、光学效应、电子跃进迁、继发辐射、自由基等,可造成组织分解和电离,最终影响受照时组织的结构和功能,甚至导致损伤。
2.热效应激光照射生物组织后,光能转化为热能而使组织温度升高。产生热效应的波段主要在红外线波段。当功率足够大时,数毫秒内即可使组织温度升高到200~1,000°C,使蛋白变性、凝固,甚而碳化、气化,这是激光刀和切割的基础。
3.压力效应激光的能量密度极高,可产生很强的辐射压力,加之由热效应引起组织急剧地热膨胀产生“次生冲击波”的压力效应共同合成总压力可以使生物组织破坏,蛋白质分解和组织分离。
4.电磁效应激光是一种电磁波,因此必然产生磁场,一般强度的激光其电磁场效应不明显,只有当激光强度极强时,电磁场效应才较明显。电磁场效应可引起或改变生物组织分子及原子的量子化运动,产生高温、高压,使组织产生电离,细胞核分解和产生自由基等变化。
(二)治疗作用
1.生物刺激和调节作用小功率的氦氖激光照射具有消炎、镇痛、脱敏,止痒、收敛、消肿,促进肉芽生长、加速伤口、溃疡、烧伤的愈合作用。小功率氦氖激光局部照射可改善全身状况,调节一些系统和器官的功能。用小功率氦氖激光照射咽峡粘膜和皮肤溃疡面、神经节段部位、交感神经节、穴位等不同部位,在局部症状改善的同时可出现全身症状的改善,如精神好转,全身乏力减轻,血沉恢复正常等。
2.激光手术激光手术是用一束细而准直的大能量激光束,经聚焦后,利用焦点的高能、高温、高压的电磁场作用和烧灼作用,对病谱组织进行切割、粘合、气化。常用的是二氧化碳激光器,掺钕钇铝石榴石激光器和氩激光器,激光手术特点:出血少、感染轻、伤口愈合慢。
3.激光治疗肿瘤激光主要基于其生物物理学方面的特殊作用,即激光的高热作用,使肿瘤组织破坏;激光的强光作用,可使肿瘤表面组织挥发,使肿瘤组织肿胀、撕裂、萎缩,亦可产生二次压力作用。激光治癌可能与其对免疫功能的影响有关。激光与光敏药物综合诊治肿瘤是光敏剂(如HpD)在肿瘤组织有较高浓度及光敏作用达到破坏肿瘤。
(三)适应证
1.小功率或中功率氦氖激光照射常用于治疗肿瘤患者放疗或化疗反应,白细胞减少症;面神经炎,三叉神经痛、遗尿症;慢性伤口、慢性溃疡、烧伤创面、过敏性鼻炎;带状疱疹、单纯疱疹、湿疹、口腔溃疡;臀位转胎等。
2.二氧化碳激光适应证(1)散焦照射(输出功率10~30W),常用于肌纤维织炎、肩周炎、慢性腹泻、慢性风湿性关节炎、神经性皮炎、附件炎等。(2)烧灼(输出功率30~80W)常用于治疗皮肤粘膜的肿痛、痣、疣、鸡眼、子宫糜烂等。(3)切割(输出功率100~300W)聚集后做为光刀“施行手术”。