第三节 血流灌注
氧分子借弥散功能经过呼吸膜进入血液后如何抵达身体各部;身体各部代谢产生的CO2又如何由体循环运抵肺泡膜弥散进入肺泡?也就是O2和CO2的气体交换过程必需有肺循环系统的正常工作,要有合适的血流灌注(perfusion)。
肺循环系统由右心、肺动脉系统、毛细血管网和肺静脉系统构成。它与体循环系统不同,具有低压力、低阻抗的特点。这些特点使肺的血流灌注能满意地进行。
一、肺循环内的压力
肺循环内压力较体循环压力低。肺动脉平均压只约在2.0kPa(15mmHg),收缩压约为3.33kPa(25mmHg),舒张压1.06kPa(8mmHg)。与体循环相比如图3-8所示。
二、肺血管周围的压力和肺血管阻力
(一)肺泡血管和肺泡外血管 肺毛细血管与肺泡气仅有一层极薄的上皮细胞相隔,几乎可以想像肺毛细血管为气体所包绕。当肺泡内压力在某特殊条件下超过了毛细血管内压力时,血管就要塌陷。一般就将肺毛细血管,和肺泡壁附近的稍大一些的血管统考虑为肺泡血管,它们的管腔内径很受肺泡压力影响。其他肺实质中的较大一些的动脉或静脉统考虑为肺泡外血管,它们的内径则由肺容积决定,因肺扩张时可牵拉使之扩大。
(二)肺血管阻力(PVR)(肺动脉均压-左房压)/肺血流量,即为肺血管阻力。肺血流量约为6L/min,故PVR约为15~5/6,即0.23kPa/L·min(1.7mmHg/L·min)。可见肺血管阻力很低,方能够将循环血量分布到覆盖在肺泡壁上如此广袤的毛细血管网之中。

图3-8肺循环内的压力
三、肺血流的分布
和肺通气的分布不均相仿,在正常生理条件下,肺内血流的分布并非均匀一致,血流分布受到地心引力,肺血管内的压力和肺血管外的压力等因素的影响。
图3-9以简单模型说明血管内外压力对血流的影响。模型中央为一根有弹性可压缩的细管,用以代表毛细血管。它周围有一定压力影响,即相当肺泡压(Palv)。灌注压(Ppa)相当于肺动脉压必需超过所有的下游的压力,才会有血流灌注此毛细血管。假若Palv显著升高,毛细血管被压扁,在灌注压不变时,由于血流阻力升高,血流量必然下降。假若静脉端压力PV低于Palv时,对血流将不起影响,此时血流量就由灌注压Pa决定。跨壁压,即血管腔内与腔外压力差(Palv-Pc),起反向压力(back pressure)的作用,会干扰血流量。此时血流量取决于Ppa(肺动脉压)和PV间的差。

图3-9 解释肺毛细血管周围压力的模型
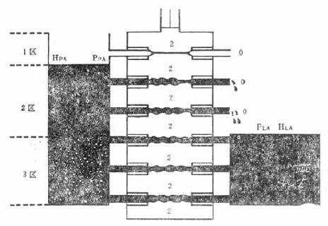
人直立时,自肺尖至肺底有一定距离,成人约为30cm,肺血流分布可以想像为上述模型的扩展,由一系列平行可压缩毛细血管组成,均处于相同的肺泡压Palv作用之下,Palv约为0.0196kPa(2cmH2O),地心引力对肺动脉和肺血流分布的影响可由图3-10解释。肺动脉压PPA由流入贮池代表,经常充满至较肺最低部位的动脉高23cm处高度。流出贮池中液体的高度保持较肺最低部位静脉高11cm水平。当流出压力超过11cm时(相当左房压,以PLA表示)方有血液溢流。据此模型,流经每条毛细血管血流量就由灌注压决定,也就是由血管的高度决定。于模型的最上部,相当肺尖部,一般称为1区,Palv为0.0196kPa(2cmH2O)已超过Ppa血管被压,无血流通过。在肺的2区,即模型的中央部,Ppa>Palv>PLA。此区有血流经过,而每条血管中血流量由流入压和肺泡压差(Ppa-Palv)决定,因此血管的高度影响血流量,在此区中靠上方的血流量小于下方者。模型的最下部(3区),每条血管Ppa均超过Palv,但流出压PLA>Palv,所以此区血流量由Ppa-PLA决定,肺动脉与肺静脉在不同高度所增加的压力均相等,每条血管中血流量均相仿。不像2区受引力影响。

图3-10肺内血流灌注分布不均的模式图
实际情况较模型复杂,除毛细血管,流入及流出血管均受跨壁压影响。在1区,右心收缩时,一般仍有血流通过。在3区,血流仍受高度(静水压)影响。毛细血管的扩张性,局部跨壁压也就是毛细血管阻力也要影响血流。这样,肺内血流分布是不均匀的,肺尖较肺底部量少。卧位时,下方较上方血流量大。这些通过核素显象已经测得肺尖部血流量约为0.6L/min,肺底部约为3.4L/min,相差达6倍之多。
四、病理条件下的肺血流分布不均
当肺动脉压力和循环量增加时,如在心力衰竭、血流分布将发生变化,而肺动脉压和循环血量降低时,如休克,也将使肺血流量改变。
肺内某些区域的肺血管阻力或顺应性变化会影响该区域的血流,如缺氧可引起肺内血管收缩,使血流量减少。
若肺血管因病变堵塞如肺血栓栓塞,或肺实质病变的影响产生了肺血管的闭锁如肺气肿或肺纤维化,则将使分布不均更为严重。
在危重患者为监测血流动力学现可放置漂浮导管以获得有关数据,对肺内血流分布不均有充分分解及导管所在肺内位置,则对判断检测结果是十分重要的。